SHARE THIS ARTICLE

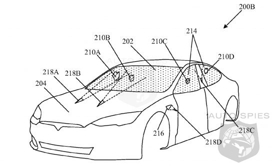
Tesla’s idea for a crazy windshield wiper that would clear debris from a driver’s line of sight using a laser beam has been officially published by the United States Patent Office. Tesla filed the application for the patent in May 2019, and it finally was granted in late 2021. Now, the U.S. Patent Office has published the patent, making it publicly viewable.

Tesla has long been interested in some pretty crazy and revolutionary ideas for automobiles. Over the years, Tesla has looked at several different designs and ideas for windshield wipers, using anything from a single-wiper system for the Next-Gen Roadster that would utilize an electromagnetic linear actuator to rid the windshield of moisture, to no wipers at all when it unveiled the Cybertruck in November 2019. Most recent sightings of Tesla’s Cybertruck have indicated the vehicle will have wipers, but Tesla is still revising the design.



Read Article


US Patent Office Releases Tesla's Laser Windshield Wiper Papers

About the Author

Agent009